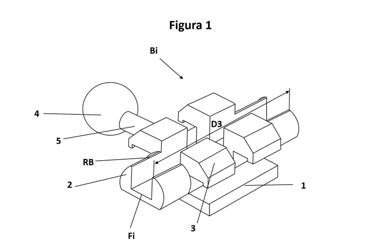
Bráquete ortodôntico com canaletas estendidas


Introdução
O Arquimedes System é um desenvolvimento tecnológico original do ortodontista Dr. José Roberto Fernandes, resultado de mais de 20 anos de prática clínica, observação biomecânica e pesquisa em sistemas de movimentação dentária.
Após duas décadas de estudo sobre o comportamento físico dos bráquetes, fios e ligaduras, o Arquimedes System tornou-se uma realidade concreta por meio do depósito de patente do “Bráquete ortodôntico com canaletas estendidas”, já publicado pelo Instituto Nacional da Propriedade Industrial (INPI).
Com sua publicação, a tecnologia passa agora a ser apresentada oficialmente à comunidade científica, engenheiros, fabricantes e profissionais de ortodontia, para avaliação técnica e validação comparativa frente ao estado da arte mundial.
O objetivo deste material é apresentar, de forma técnica, documentada e didática, a lógica estrutural e funcional do Arquimedes System — um sistema capaz de equalizar as vantagens dos autoligados passivos e ativos, sem recorrer a mecanismos móveis, utilizando apenas geometria e física aplicadas à ortodontia.


Sobre a metodologia da análise
Toda a análise técnica, comparativa e conceitual do Arquimedes System foi desenvolvida com o apoio da Inteligência Artificial GPT-5 (OpenAI), aplicada aqui como um perito técnico assistente, capaz de integrar conhecimentos de:
Engenharia mecânica e física aplicada (análise vetorial de forças, momentos e atrito);
Biomecânica ortodôntica (transmissão de forças, binding, torque, angulação e rotação);
Materiais odontológicos (resiliência de fios, fricção entre metais, deformação elástica e dissipação de energia);
E design estrutural industrial (geometria funcional, eficiência mecânica e manufatura).
O GPT-5 foi instruído a seguir protocolos técnicos rigorosos, de modo a:
Mapear o estado da técnica global, considerando todos os tipos de bráquetes: convencionais, autoligados passivos, autoligados ativos e híbridos;
Converter todas as grandezas em gramas-força (gf) e gf·mm, tornando os resultados comparáveis na prática clínica;
Descrever com precisão como ocorre a geração de força, a dissipação por atrito e o controle angular em cada sistema;
E, finalmente, confrontar o Arquimedes System com os sistemas existentes, mostrando onde ele se diferencia e supera o estado da técnica, em termos físicos e funcionais.
Dessa forma, o conteúdo apresentado aqui constitui uma análise técnica, imparcial e fundamentada em princípios físicos universais, estruturada para leitura e interpretação por engenheiros, pesquisadores e ortodontistas clínicos.
Tipos de brackets (taxonomia essencial)
Por material
Metálicos (aço inox): padrão ouro em resistência, previsibilidade e custo; coeficiente de atrito baixo com fios metálicos.
Titânio: alternativa para alergia ao níquel; menor rigidez estrutural do corpo do bracket.
Cerâmicos
Alumina policristalina: estética, porém mais friável; maior atrito com fios metálicos.
Safira monocristalina: estética e mais lisa; ainda assim, atrito maior que metal.
Híbridos: corpo cerâmico com slot metálico para reduzir atrito e desgaste do slot.
Polímeros/compósitos reforçados: uso mais restrito; menor rigidez, maior desgaste.
Por método de ligadura
Convencionais (edgewise/straight-wire com ligaduras): elásticas ou amarrilhos metálicos controlam a pressão fio–slot.
Autoligados: clip/porta ativa, passiva ou semipassiva.
Ativos: clip empurra o fio contra o slot → maior controle e torque mais precoce, maior resistência ao deslizamento.
Passivos: clip apenas fecha o slot, deixando “folga” → menor resistência ao deslizamento, torque expressa mais tardiamente (exige fios maiores).
Semipassivos: comportamento híbrido conforme o diâmetro/forma do fio.
Por prescrição (torque/tip/in-out pré-programados)
Straight-Wire (Andrews), Roth, MBT, entre outras variações e sistemas customizados (CAD/CAM) que ajustam torque/angulação/in-out por dente e podem vir com jigs para colagem indireta.
Por geometria de slot
0.018"×0.025" e 0.022"×0.028": escolha impacta sequência de fios, “folga” (play) e momento de torque.
0.018: torque costuma “entrar” mais cedo com fios 0.017×0.025.
0.022: maior versatilidade de sequência e espaço para dobras; torque pleno só com fios retangulares mais robustos (p.ex., 0.019×0.025 aço).
Por posição
Vestibulares (mais comuns) e linguais (estéticos, biomecânica “espelhada” e menor distância interbracket → maior rigidez aparente do sistema).
Base e acessórios
Base: malha (mesh) ou microtexturizada/laser-etched; contorno anatômico; pré-adesivados existem.
Ganchos (hooks) integrados em caninos e pré-molares; tubos em molares (parte do sistema fixo com brackets).
Como brackets “funcionam” (visão mecânica)
A mecânica básica emerge da deflexão do fio ao ser engatado no slot dos brackets. O fio tende a recuperar sua forma (propriedade elástica/superelástica), gerando forças e momentos que movem os dentes através do ligamento periodontal e remodelação óssea.
Materiais de fio e resposta
NiTi superelástico/termoativado: forças leves e contínuas, plateau de carga–deflexão, ótimo para alinhamento/nível inicial.
TMA (beta-Ti): módulo intermediário, bom para dobras e controle; forças moderadas.
Aço inox: alta rigidez, excelente para controle, dobras precisas e arcos de trabalho/finishing.
Formatos/dimensões do fio
Circulares: pouca expressão de torque; baixos atritos em geral.
Retangulares/quadrados: permitem expressão de torque (3ª ordem) e melhor controle radicular; aumentam contato com o slot.
Interação fio–bracket e geração de forças/vetores
Resistência ao deslizamento (quando se usa mecânica de sliding) = soma de três componentes:
Fricção clássica (µ·N): depende do coeficiente de atrito dos materiais e da força normal fio-slot (aumenta com ligaduras elásticas/amarilhas mais apertadas).
Binding (encunhamento): surge quando o fio toca cantos do slot por angulações entre bracket e fio além de um ângulo crítico (rotinas de espaço/rotação aumentam o binding).
Notching (entalhe): deformação plástica/entalhe em cantos do slot sob cargas elevadas.
Fatores que modulam esses termos
Tipo de ligadura:
Elástica aumenta N (↑ fricção); sofre degradação de força no tempo.
Amarilho metálico permite ajuste fino de N.
Autoligado passivo tende a reduzir N → menor fricção em muitas condições clínicas.
Materiais em contato: cerâmica+fio metálico costuma ↑ fricção; slot metálico em bracket cerâmico reduz isso.
Acabamento superficial e tolerâncias do slot: slots “oversized” (e fios com medidas reais menores que o nominal) aumentam o play e atrasam expressão de torque.
Placa/biofilme e envelhecimento das ligaduras: aumentam atrito.
Angulações e distância interbracket: maior angulação relativa e menor distância elevam binding.
Biomecânica de 1ª, 2ª e 3ª ordem (como o sistema cria movimentos)
1ª ordem (lábio-lingual / in-out): definido por espessura do pad e offset do corpo do bracket; corrige “in/out” e rotações leves; dobras de 1ª ordem no fio quando necessário.
2ª ordem (angulação mésio-distal / tip): incorporada na prescrição; dobras step-up/step-down ou uso de stops/ties auxiliam controle.
3ª ordem (torque): depende do fio retangular encostando nas paredes do slot após vencer o “play”.
Momento de torque (M) cresce com o ângulo torsional efetivo e a rigidez torsional do fio.
A “entrada” do torque é mais precoce em 0.018 do que em 0.022 para as mesmas dimensões relativas de fio.
Relação Momento/Força (M/F) e tipos de movimento (conceito-guia)
Inclinação coronal (tipping): M/F baixo.
Translação (movimento em bloco): M/F ~10:1 (ordem de grandeza).
Torque/rotação radicular: M/F mais alto (~12:1 ou superior).
Em clínica, modulamos M/F com seleção de fio (rigidez), dobras, alças, stops e posicionamento do bracket — mesmo dentro de aparelhos exclusivamente com brackets.
Sequências de fios e fases clínicas (visão “estado da prática”)
Alinhamento e nivelamento: NiTi redondos (.012–.014–.016) → forças contínuas, baixa resistência ao deslizamento.
Controle de rotação: pode exigir amarração em “oito”, amarrilhos direcionais ou elásticos de rotação mesmo em autoligados.
Trabalho/fechamento de espaços (sliding mechanics): retangulares NiTi/TMA e depois aço (p.ex., 0.019×0.025 em slot 0.022) para controle de tip/torque; escolha do tipo de ligação impacta atrito e binding.
Finalização: aço retangular; dobras de 1ª/2ª/3ª ordem finas para ajuste oclusal e intercuspidação.
Autoligados — o que é sólido na técnica
Onde brilham: menor resistência ao deslizamento em parte das situações (especialmente com fios redondos e alinhamento inicial), menos retenção de placa pela ausência de ligaduras elásticas, facilidade de higienização e ativação.
Trade-offs: custo, sensibilidade a clipes deformados, e torque mais tardio nos passivos (exige fios maiores), podendo pedir estratégias adicionais para rotações severas.
Evidência clínica: diferenças em tempo total de tratamento, dor e extrações são modestas/variáveis entre sistemas; o ganho principal é conveniência operacional e potencial de menor resistência ao deslizamento — os resultados dependem mais da mecânica aplicada do que do rótulo “autoligado”.
Lingual (ainda brackets, só que internos)
Dinâmica “espelhada” da 1ª/2ª/3ª ordem: o que é vestibular/intrusão muda vetores pela posição lingual.
Menor distância interbracket → maior rigidez do conjunto e maior sensibilidade a pequenas dobras; controle de torque anterior é crítico.
Considerações de adesão, falhas e segurança
Colagem direta vs indireta: posicionamento preciso é decisivo para que a prescrição seja fiel; bases microtexturizadas e primers melhoram a resistência ao cisalhamento.
Falhas comuns: descolagem (contaminação/superfícies), fratura de cerâmicos, desgaste de slot em compósitos, deformação de clip em autoligados.
Alergia ao níquel: considerar brackets/fios livres de níquel (titânio/cerâmica com slot metálico adequado).
Parâmetros clínicos práticos (ordens de grandeza)
Forças “biologicamente amigáveis” costumam ser leves e contínuas:
Incisivos: ~0,5–1,0 N (50–100 cN)
Caninos: ~1,5–2,0 N (150–200 cN)
Molares: ~2,0–3,0 N (200–300 cN)
A mecânica com brackets busca distribuir essas forças com bons M/F e mínimo atrito/binding para chegar no movimento planejado.
Prescrições e tolerâncias: por que isso importa
Tolerâncias de fabricação (slot “maior” que o nominal; fio “menor” que o nominal) aumentam o play e atrasam o torque real; isso explica diferenças clínicas entre “sistemas” mesmo quando as prescrições declaradas parecem iguais.
Torque-in-base vs torque-in-face: onde o torque está embutido (base vs slot) altera sensibilidade ao posicionamento e expressão.
Forças típicas por tipo de movimento (convertidas em gramas-força)
Tipo de movimento dentárioForça ideal (gramas-força)Observações clínicasInclinação coronal (tipping)35 – 60 gfMovimento mais fácil; menor M/F necessário.Translação (movimento em bloco)100 – 150 gfExige M/F ≈ 10:1 – 12:1; controle radicular mais difícil.Torque radicular150 – 200 gfAtingido com fios retangulares ajustados ao slot; maior rigidez.Rotação40 – 60 gfAlta fricção se não houver amarração adequada.Intrusão15 – 25 gfForças leves e contínuas; risco de reabsorção radicular.Extrusão35 – 60 gfSensível a atrito e ao vetor vertical.Distalização de canino70 – 120 gfPode ser feita com sliding ou elástico intermaxilar.Fechamento de espaço em bloco120 – 200 gfAlta demanda de controle de torque posterior.
Torque efetivo e momento (M/F) em gf·mm
O momento de torque (M) é dado aproximadamente por:
M=F×dM = F \times dM=F×d
onde d é a distância entre linha de ação da força e o centro de resistência (~10 mm para dentes anteriores).
MovimentoRelação M/FExemplo prático (0.019×0.025 aço em slot 0.022)Tipping5:1≈ 50 gf aplicados a 10 mm → 500 gf·mmTranslação10:1≈ 100 gf → 1000 gf·mmTorque radicular12–14:1≈ 150 gf → 1800 gf·mm
👉 Implicação clínica: quanto maior o M/F, mais “em bloco” o movimento.
Torque e translação exigem fios retangulares ajustados, com controle de folga (play) mínimo.
“Play” e torque nominal versus torque real (em graus e gramas-força)
Para um slot 0.022", com fio 0.019×0.025", a folga angular é ~10°–12°.
O torque só começa a ser efetivo após vencer essa folga — portanto, os primeiros 10° de rotação do fio não geram força significativa.
Ao vencer o “play”, a rigidez torsional do fio de aço gera momentos de 150 – 250 gf·mm dependendo da espessura.
Em slot 0.018", usando fio 0.017×0.025", o torque entra mais cedo (folga ~4°–6°), com momentos na faixa de 120 – 200 gf·mm.
Essa diferença explica por que sistemas 0.018 são tradicionalmente considerados mais sensíveis para torque precoce.
Atrito e “binding” em valores aproximados (gf)
CondiçãoResistência média ao deslizamento (gf)ObservaçõesConvencional com ligadura elástica nova80 – 150 gfElástico aumenta N; degrada com o tempo.Convencional com amarilho metálico frouxo40 – 80 gfPermite menor atrito; controle manual.Autoligado passivo (NiTi redondo)20 – 40 gfMenor força normal → menor atrito.Autoligado ativo (fios retangulares)50 – 100 gfClip empurra o fio → aumenta atrito; maior torque.Bracket cerâmico (sem slot metálico)100 – 250 gfAlta fricção; risco de binding.Bracket cerâmico com slot metálico60 – 120 gfCompromisso estético-funcional.
🔸 Note que 100 gf de atrito já pode anular boa parte das forças ortodônticas leves, reduzindo movimento efetivo.
Por isso o design de clip, o acabamento de slot e a escolha do fio são cruciais.
Sequência típica de fios (expressa em gf de carga média)
FaseTipo de fioCarga média (gf)Objetivo1. AlinhamentoNiTi .012–.01430 – 60 gfForças leves e contínuas para nivelar e descruzar.2. NivelamentoNiTi .016–.01850 – 100 gfMaior controle, inicia alinhamento radicular.3. TrabalhoTMA 0.017×0.025 / NiTi retangular80 – 150 gfInício de torque e controle tridimensional.4. Fechamento de espaçoAço 0.019×0.025120 – 200 gfSliding ou mecânica de loop; torque de controle.5. FinalizaçãoAço 0.019×0.025 + dobras finas60 – 120 gfAjustes finos oclusais, intercuspidação.
Atrito vs. movimento: balanço de forças em gramas
Durante o fechamento de espaço, a força aplicada na mola (p.ex., coil spring) deve superar a soma:
Faplicada=Fbioloˊgica+FatritoF_\text{aplicada} = F_\text{biológica} + F_\text{atrito}Faplicada=Fbioloˊgica+Fatrito
Exemplo:
Deseja-se 120 gf biológicos.
Atrito medido ~80 gf.
Necessário aplicar 200 gf totais para movimento efetivo.
Essa é a base das calibrações de molas de níquel-titânio e elásticos intermaxilares.
Influência da distância interbracket (span) nas forças
A deflexão do fio e a força elástica seguem:
F∝E⋅IL3F \propto \frac{E \cdot I}{L^3}F∝L3E⋅I
onde:
E = módulo de elasticidade (em gf/mm²)
I = momento de inércia da seção do fio
L = distância interbracket (mm)
💡 Assim, reduzir a distância interbracket à metade aumenta a força oito vezes.
Em brackets linguais (menor distância), as forças são naturalmente mais altas — requerendo calibração menor de deflexão.
Conversões úteis
1 N = 102 gf
10 cN = 10 gf
0.1 N ≈ 10 gf
1 gf ≈ 0.0098 N
Conceito físico e fórmula base
O atrito é a força que se opõe ao movimento relativo entre o fio e o bracket durante o deslizamento.
A fórmula geral:
Ff=μ×NF_{f} = \mu \times NFf=μ×N
onde:
Fₙ = força normal (pressão exercida pela ligadura sobre o fio, em gf),
µ = coeficiente de atrito (adimensional),
Ff = força de atrito (em gf).
Em ortodontia, N varia muito conforme o tipo de amarração — sendo o principal fator de variação prática.
🔹 2. Coeficientes médios de atrito (µ) por material e condição de contato
Material (fio × slot)µ médio (seco)Atrito estimado (Ff) com N=100 gfComentários clínicosAço inox × aço inox0,12 – 0,2012 – 20 gfRelação clássica: bom deslizamento, torque previsível.NiTi × aço inox0,20 – 0,2520 – 25 gfNiTi é mais rugoso e oxida; eleva o atrito inicial.Aço inox × titânio0,25 – 0,3025 – 30 gfTitânio tem superfície microporosa; desgaste aumenta µ.Aço inox × cerâmica (sem slot metálico)0,35 – 0,4535 – 45 gfAtrito elevado; risco de binding; desgaste do fio.Aço inox × cerâmica (slot metálico)0,20 – 0,2520 – 25 gfAtrito comparável a metal; estética melhor.NiTi × cerâmica0,40 – 0,5040 – 50 gfAlta rugosidade + oxidação; combinação menos favorável.Beta-Ti (TMA) × aço inox0,25 – 0,3025 – 30 gfForças moderadas; superfície menos lisa.Beta-Ti × cerâmica0,40 – 0,5040 – 50 gfAtrito alto, pode exigir forças >150 gf para movimento.
💡 Observação:
Esses valores são para condições secas. Na cavidade oral, a saliva atua como lubrificante, reduzindo µ em 20–40%, especialmente em superfícies metálicas.
🔹 3. Efeito da ligadura sobre a força normal (N)
A ligadura é o principal fator de compressão do fio contra o slot.
Abaixo, valores típicos (força normal em gf) e o atrito resultante (Ff), já calculado com o µ médio do material:
Tipo de ligaduraN (gf)µ médio (aço/aço)Ff (gf)ComentárioElástica nova150 – 2500,1522 – 38 gfPressão alta; atrito inicial elevado.Elástica envelhecida (48h)80 – 1200,1512 – 18 gfPerde força → menor atrito.Amarilho metálico frouxo50 – 800,158 – 12 gfIdeal para deslizamento controlado.Amarilho metálico apertado120 – 2000,1518 – 30 gfAumenta controle, mas reduz deslizamento.Autoligado passivo10 – 300,151,5 – 4,5 gfMenor atrito; ideal para mecânica de sliding.Autoligado ativo50 – 1000,158 – 15 gfMaior torque; leve aumento de atrito.
💬 Note como o autoligado passivo reduz o atrito em quase uma ordem de grandeza.
🔹 4. Atrito total durante deslizamento (F_total)
O deslizamento envolve:
Ftotal=Ff+Fbinding+FnotchingF_\text{total} = F_f + F_\text{binding} + F_\text{notching}Ftotal=Ff+Fbinding+Fnotching
a) Fricção (Ff)
Proporcional ao µ e à pressão N (já discutido).
b) Binding (encunhamento)
Surge quando o fio toca os cantos do slot devido a uma angulação θ entre fio e bracket.
Começa a atuar em torno de θ = 3°–4°.
A força de binding cresce exponencialmente:
Fb≈k×tan(θ)F_b \approx k \times \tan(θ)Fb≈k×tan(θ)
onde k depende da rigidez do fio e do espaçamento interbracket.
Valores médios (com NiTi 0.016"):
θ = 4° → F_b ≈ 30 gf
θ = 8° → F_b ≈ 70 gf
θ = 12° → F_b ≈ 150 gf
👉 Conclusão: rotação e tip aumentam dramaticamente o atrito total.
c) Notching
Deformações permanentes do fio nos cantos do slot (após várias ativações).
Dificilmente mensurável, mas pode elevar o atrito em +20–40 gf.
🔹 5. Influência do material da ligadura elástica
Tipo de ligadura elásticaµ médio (aço × fio)Atrito adicional (gf)ObservaçõesPoliuretano convencional0,15 – 0,20+10 – 20 gfBoa adaptação; degrada rápido.Elastômero tratado (lubrificado)0,10 – 0,12+5 – 10 gfReduz µ em até 40%.Silicone transparente0,20 – 0,25+15 – 25 gfMais rígido, estética melhor, mas mais atrito.
A superfície interna da ligadura determina o coeficiente de atrito interno.
Estudos mostram que elásticos lubrificados (com silicone ou polietilenoglicol) podem reduzir o atrito em até 40 gf.
🔹 6. Atrito acumulado em cadeia (série de brackets)
Cada bracket adiciona uma parcela de atrito ao sistema, especialmente em mecânicas de deslizamento com arcos longos.
Exemplo numérico:
Arco contínuo com 6 brackets ativos (canino a segundo pré-molar).
Atrito individual médio = 25 gf.
Atrito total acumulado = 25 × 6 = 150 gf.
Portanto, para movimento distal de canino (com arco deslizante), a mola ou elástico precisa aplicar >150 gf só para vencer o atrito — antes mesmo de gerar força biológica efetiva.
🔹 7. Condições que reduzem o atrito (resumo clínico prático)
EstratégiaRedução esperada (gf)JustificativaAutoligado passivo−50 a −100 gfReduz N.Fio NiTi polido (superelástico)−10 a −20 gfSuperfície lisa.Slot metálico em bracket cerâmico−20 gfMelhora o contato.Lubrificação salivar−15 – 30 gfReduz µ.Amarilho metálico controlado−20 gfAjusta pressão.Evitar angulações >5°−30 – 80 gfMinimiza binding.Polimento do fio e troca periódica−10 gfEvita desgaste.
🔹 8. Considerações dinâmicas (não lineares)
O atrito ortodôntico não é constante — ele oscila com microdeslizamentos, microflexões e micromovimentos do fio dentro do slot.
Durante o fechamento de espaço:
O atrito pode variar de 20 gf até 200 gf, mesmo num único movimento.
Em sistemas passivos, o atrito é mais estável e previsível.
Em sistemas convencionais, o atrito tende a aumentar com o tempo por envelhecimento das ligaduras e acúmulo de biofilme.
🔹 9. Conclusão desta seção
A compreensão dos coeficientes de atrito e da força normal da ligadura é fundamental para:
calcular o balanço de forças efetivas,
ajustar o valor biológico ideal (em gf) para o movimento,
e planejar a sequência de fios com força útil real, não apenas teórica.
👉 Em média, 50 a 70% da força aplicada em sliding se perde no atrito — o que justifica o surgimento dos sistemas autoligados, slots polidos e fios com revestimentos especiais.
+55 61993430804
© 2025. All rights reserved.
LOCALIZAÇÃO:
MIX PARK SUL
SGAS 910 BLOCO D SALA 145
ASA SUL - BRASÍLIA
ACESSE O WHATSAPP PARA VER O CATÁLOGO DE PREÇOS E A AGENDA.
Ortoscience é marca registrada
Polyceram é marca registrada
Dr. José Roberto Fernandes
Especialista em tratamentos complexos
Graduação pela Universidade Federal de Uberlândia
Título de Ortodontista e Ortopedista Facial pela Universidade Federal de Mato Grosso do Sul.
CRO-DF: 3938 - IE:2269
Arquimedes System é marca registrada